RUROCIĄGI DALEKIEGO ZASIĘGU
Diagnostyka
Deformacje rurociągów
Przyczyny
Rozkład uszkodzeń gazociągów w Europie Zachodniej wg przyczyn powstania

Liczba awarii w roku na 1000 km rurociągów ropy naftowej i gotowego produktu w Polsce

Liczba awarii danej kategorii w latach

Przebieg deformacji (modelowa deformacja)
Naprężenia zredukowane wg Hubera w rurociągu o średnicy 500 mm, z uwzględnieniem ciśnienia wewn. p=2.5 MPa oraz ciężaru właściwego tłoczonej ropy (wyniki obliczeń MES).

Zróżnicowanie ciśnienia działającego na ścianki rurociągu w wyniku ciężaru właściwego tłoczonej ropy

Naprężenia zredukowane
powiększone w wyniku wgniecenia o głębokości wg=0.44 mm
(deformacja powiększona 100×).

Zależność naprężeń od głębokości wgniecenia (obliczenia z uwzględnieniem plastyczności materiału)

Model plastyczności materiału uwzględniany w obliczeniach MES

Obraz wgniecenia w
momencie punktowego uplastyczniania ścianki rurociągu
(p=2.5 MPa, wg=0.88 mm, deformacja powiększona 100×).

Kształt osiowego przekroju ścianki rurociągu w kolejnych fazach deformacji

Obraz
utraty stateczności rurociągu w nienośnym gruncie, na podporze
(dwa przykłady)
Dane o wgnieceniu pochodzą
z pomiarów KALIBRAKIEM, reakcja podporowa obliczana MES dla
odkształceń narastających od zera do stanu zmierzonego, z
uwzglednieniem ciśnienia ropy i naporu gruntu.


Utrata stateczności w wyniku:
zmiany kształtu (położenia ścianki rury względem wektorów obciążenia)
uplastycznienia
Diagnostyka deformacji
Urządzenia do pomiaru wewnętrznej geometrii rurociągu (ang. Kaliper pig)
pozwalają na:
sporządzenie zbioru kształtów przekrojów rurociągu,
wskazanie owalizacji oraz spłaszczeń,
zgromadzenie informacji o miejscach i charakterze deformacji pod wpływem sił zewnętrznych (zadrapaniach, wgięciach),
ewidencję spoin poprzecznych (wraz z oceną ich błędów: sopli, grzebieni itp.),
ewidencję błędów kształtu, widzianych od wewnętrznej strony rurociągu (np. błędów ustawienia sąsiednich rur podczas spawania),
ewidencję rozgałęzień, króćców i innych elementów konstrukcyjnych rurociągu,
zlokalizowanie złogów materiałów stałych zmniejszających światło rurociągu.
Informacje o zniekształceniach ścianek rurociągu mają bardzo istotne znaczenie dla jego użytkownika. W przypadku nowej konstrukcji świadczą o błędach w sztuce budowy rurociągu. Dla rurociągu w trakcie eksploatacji odkształcenia mogą być związane z działaniem czynników trzecich, takich jak intensywny ruch drogowy lub kolejowy nad zakopanym rurociągiem, z uszkodzeniami rurociągu wywołanymi ciężkim sprzętem rolniczym lub leśnym, a także mogą być związane z przesunięciami mas gruntu wraz z zakopanym rurociągiem. Wszelkie odkształcenia rurociągu powodują nie tylko zwiększenie oporów tłoczenia medium, ale mogą być przyczyną awarii rurociągu.
Przykłady konstrukcji
tłok inteligentny firmy
Enduro Pipeline Services

kaliper indyskiej firmy
Vee Kay Vikram & Co

kaliper indyskiej firmy
Vee Kay Vikram & Co

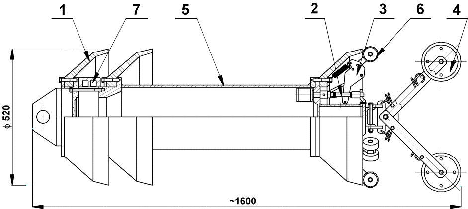
KALIBRAK firmy CDRiA
Warszawa - Gdańsk


1. Manszety prowadzące, 2. Czujnik pomiarowy, 3. Dźwignia pomiarowa, 4. Koło hodometru,
5. Korpus - pojemnik aparatury pomiarowej, 6. Rolki pomiarowe, 7. Antena lokalizatora położenia.
Dane techniczne urządzenia KALIBRAK 500 :
średnica wewnętrzna inspekcjonowanego rurociągu: 500 mm,
autonomiczność: 40 godzin,
optymalna szybkość przesuwu:1.2 m/s, maksymalna: 1.7 m/s,
pamięć danych: 80 MB,
długość zapamiętywanego odcinka rurociągu: 130 km,
dokładność pozycjonowania wykrytych wad: 0.25 m,
zdolność do pokonywania przewężeń do 25% D rurociągu,
ilość torów pomiarowych: 6,
dokładność pomiaru odkształcenia < 1 mm,
możliwość pomiaru deformacji w gazociągach oraz naftociągach.
Porównanie własności eksploatacyjnych urządzeń do pomiaru wewnętrznej geometrii rurociągu różnych producentów.
| URZĄDZENIE CECHY |
KALIBRAK CDRiA (POLSKA) |
TD WILLIAMSON (USA) |
PIPETRONIX (NIEMCY) |
VKVC (INDIE) |
ENDURO (USA) |
| ROZMIARY (ŚREDNICE) | 8" - 32" |
6" - 60" |
6" - 60" | 8" - 36" | 6" - 48" |
| ZDOLNOŚĆ POKONYWANIA PRZEWĘŻEŃ | 75%D |
? |
75%D |
85%D |
75%D |
| MINIMALNY PROMIEŃ GIĘCIA RURY | 3D |
1.5D |
3D |
3D |
1.5D |
| MAKSYMALNY CZAS PRACY | 48 - 60 h |
? |
500
h |
60h |
? |
| MAKSYMALNE CIŚNIENIE OPERACYJNE | ? |
150 bar |
100 bar |
30 bar |
? |
| MAKSYMALNY DYSTANS PODRÓŻNY | 130 km |
? |
600 km |
100 km |
? |
| ILOŚĆ TORÓW POMIAROWYCH | 6 lub 8 |
(1 ?) |
1 |
1 |
(1?) |
Znane wady kaliperów
obtaczanie

ugięcie manszet prowadzących

"myszkowanie"



Wpływ dynamiki dźwigni pomiarowej na wynik pomiaru kształtu rurociągu

w/w problem można złagodzić poprzez optymalizację dynamiki dźwigni pomiarowej


Teoria cienkich powłok Flüggego
stosowana dla
![]()
Różniczkowy element cienkiej powłoki walcowej

w powyższym układzie
współrzędnych definiowane są nast. przemieszczenia punktu powłoki:
u - w kierunku osiowym x
v - w kierunku obwodowym f
w - w kierunku
promieniowym z (mierzalne KALIBRAKIEM)
Jednostkowe obciążenia różniczkowego elementu cienkiej powłoki walcowej:
a) zewnętrzne
b) wewnętrzne siłowe
c) wewnętrzne momentowe

Związki pomiędzy obciążeniami wewnętrznymi, a odkształceniami






gdzie
![]()
Uwzględniając możliwości
pomiarowe Kalibraka - pomiar w(x,f), a następnie obliczanie pochodnych
:



Sumowanie naprężeń:
![]()

Przykład
"surowych" wyników pomiarów Kalibrakiem
Wynik
analizy MES wyników pomiarów z Kalibraka
materiał rurociągu:
stal 18G2A - Re=360 MPa, Rm=640 MPa
deformacje przesadzone 3×
"Poligonowy" obraz deformacji rurociągu



Uproszczone obliczenia skutków deformacji w zakresie liniowym



Autor: Leszek Dąbrowski - Wydział Mechaniczny Politechniki Gdańskiej 2003